Direktna poveznica
  • Conrad
  • Moj račun

    Prijava / Registracija

  • Košarica

  • Rasprodaja - provjerite najbolje cijene! Rasprodaja - provjerite najbolje cijene!
  • Brendovi

    Preporučeni brendovi

    Fluke
    Phoenix Contact
    Wiha
    TOOLCRAFT
    Weller
    Lapp
  • Usluge

    Usluge

    Zahtjev za ponudu
    Newsletter
    eProcurement
    eProcurement
    eProcurement
    eProcurement
  • Naši proizvodi
  • Moj račun
  • Lista želja
  • Odjava
Conrad
Početak
Alati i radionica Materijal za pričvršćivanje i montažu Tipla

Fischer 536193 SXRL 10 x 140 T K NV dugački tipl 140 mm 1 Set

EAN:
Šifra proizvođača:
Kataloški br.:
Sivi plastični tipli s dugačkim srebrnim vijčanim čavlom, pogodan za učvršćivanje u čvrstim materijalima.
Sivi plastični tipli s dugačkim srebrnim vijčanim čavlom, pogodan za učvršćivanje u čvrstim materijalima.
Paket sa četiri sive Fischer SXRL 10x140 T tiple i vijke, pogodne za različite građevinske materijale, promjera do 10 mm.
Drveni križni uzorak na crvenoj cigljenoj stijeni. Struktura djeluje stabilno i dekorativno.
Zidni nosač s montažnom rukom drži monitor postavljenim sa strane na zidu. Monitor se može zakretati i trenutno je usmjeren lijevo.
Tipka u crvenoj opečnoj zidu pokazuje siguran pridržaj drvenim komadićem. Tehnički detalj sustava učvršćivanja.
Dijagram svrdla koje prodire kroz zid i mlaznice koja injektira brtvilo u rupu. Crvene strelice pokazuju smjer.
Crtež tiple u zidu. Tipla je napola ugurana, sa strelicom udesno koja pokazuje na nju.
Tipla se uvija u zid. Zid se sastoji od nepravilnog kamenja. Crvena strelica pokazuje smjer okretanja.
Shematski prikaz tiple učvršćene u zidu, s odvijačem koji priteže vijak.
Presjek tiplera u zidu. Lijevo su crveni slojevi, u sredini je umetnut tiplera u točkastoj površini.
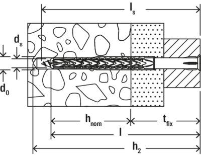
Tehnički nacrt sustava pričvršćivanja tiplova u zidu. Oznake prikazuju dubinu, promjer i mjere duljine.
1/11
Fischer
Tehnički list (PDF)
Deutsch (Deutschland)
Dostavačet, 9.4.

2 Set(ovi) - zaliha Njemačka

Broj

Ukupno
7,99 €
-25 %
5,99 €
uklj. PDV 
Dostupno još samo 2 kom (zaliha Njemačka)
Obrazac za prijavu nezakonitog sadržaja
  • 100% sigurnost kupnje

  • Dostava u 5 dana

  • Više od 800.000 proizvoda

  • Tehnička podrška

Informacije

Informacije

  • Opći uvjeti 

  • Naručivanje proizvoda

  • Načini plačanja

  • Dostava i PDV

  • Produženo jamstvo

  • Izvješće o održivosti

  • Informacije o pristupačnosti


Upoznajte nas

Upoznajte nas

  • O tvrtki Conrad

  • Conrad - Your sourcing platform

  • Eprocurement

  • Naše vlastite marke 

  • Conrad partnerski program

  • Conrad Partneri


Naše usluge

Naše usluge

  • B2B prime - paket pogodnosti 

  • Usluga kalibriranja 

  • Kablovi na meter

  • PCB Servis 

  • Usluga nabave

  • Zahtjev za ponudu (RFQ)


Praktični linkovi

Praktični linkovi

  • Kategorije A - Ž

  • Brendovi A - Ž

  • Dokumentacijski centar

  • Povratak proizvoda

  • Informacije i pomoć


Newsletter

Molimo unesite važeću e-meil adresu!

☎ Kontakti

Ponedeljak - petak: 8:00 - 16:00

info@conrad.hr 

 

Načini plaćanja
  • Visa
  • Mastercard
Društveni mediji

Sve cijene proizvoda uključuju PDV i ne uključuju troškove dostave.

Sve cijene proizvoda uključuju PDV i ne uključuju troškove dostave.

Popust se odnosi samo na odmah dostupne uredske proizvode (na zalihi) i vrijedi do 05.04.2026. na conrad.hr. Ne može se kombinirati s drugim kodovima za popust. 1 put po poslovnom kupcu/privatnoj osobi. U pojedinačnim slučajevima količina prodaje može biti ograničena.

Merilna tehnika
Popust velja samo za izbrane in takoj dobavljive izdelke (iz zaloge v skladišču) iz kategorije Merilna tehnika na conrad.hr. Popusta ni mogoče kombinirati z drugimi kodami za popust. Ponudba velja enkrat na poslovno ali individualno stranko. V posameznih primerih lahko veljajo omejitve nakupa. Ponudba velja do razprodaje zalog.

  • Opći uvjeti

  • Zaštita podataka

  • Propisi in pravne informacije

  • Cookies conrad.hr

Usporedba proizvoda
Lista želja