Direktna poveznica
  • Conrad
  • Moj račun

    Prijava / Registracija

  • Košarica

  • Rasprodaja - provjerite najbolje cijene! Rasprodaja - provjerite najbolje cijene!
  • Brendovi

    Preporučeni brendovi

    Fluke
    Phoenix Contact
    Wiha
    TOOLCRAFT
    Weller
    Lapp
  • Usluge

    Usluge

    Zahtjev za ponudu
    Newsletter
    eProcurement
    eProcurement
    eProcurement
    eProcurement
  • Naši proizvodi
  • Moj račun
  • Lista želja
  • Odjava
Conrad
Početak
Alati i radionica Materijal za pričvršćivanje i montažu Tipla

Fischer 503786 PA 4 M8/25 K NV tipl od mesinga 25 mm 1 Set

EAN:
Šifra proizvođača:
Kataloški br.:
Zlatna, valovito izrezana metalna čahura koja je s jedne strane rascijepljena. Mogla bi biti dio mehaničkog alata ili uređaja.
Zlatna, valovito izrezana metalna čahura koja je s jedne strane rascijepljena. Mogla bi biti dio mehaničkog alata ili uređaja.
Paket s četiri mjosingane tipla 'PA 4 M8/25'. Gore desno nalazi se crvena M8 naljepnica. Sadržava detalje o proizvodu i barkod.
Drveni razmak vrata sa srebrnim kvakom i bravom vidljiv. Kvaka je glatka i valjkasta, a brava je pravokutna.
Blizak prikaz šarke drvenih vrata, prikazuje detalje metalne spojnice između dva drvena dijela.
Bušač prodire s desne strane u komad drva. Crvena strelica pokazuje smjer rotacije bušača ulijevo.
Detaljne upute korak po korak za učvršćivanje mesing umetka u drvenom objektu pomoću odvijača.
Ilustracija mehanizma vijka učvršćenog u drvenom bloku. Matica se steže rotacijom, prikazanom strelicom.
Vijak s podložnom podmetačem i maticom uvrnjen je u drvenu dasku. Vijak ima potopljeni navoj.
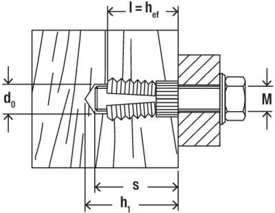
Tehnički nacrt vijka umetnutog u komad drva s dimenzijama: l=hef, M, d0, s, h1. Prikazuje vezu preko navoja.
1/9
Fischer
Tehnički list (PDF)
Deutsch (Deutschland)
Dostavauto, 14.4.

6 Set(ovi) - zaliha Njemačka

Broj

Ukupno (4,79 € / komad)
4,79 €
uklj. PDV 
Dostupno još samo 6 kom (zaliha Njemačka)
Obrazac za prijavu nezakonitog sadržaja
  • 100% sigurnost kupnje

  • Dostava u 5 dana

  • Više od 800.000 proizvoda

  • Tehnička podrška

Informacije

Informacije

  • Opći uvjeti 

  • Naručivanje proizvoda

  • Načini plačanja

  • Dostava i PDV

  • Produženo jamstvo

  • Izvješće o održivosti

  • Informacije o pristupačnosti


Upoznajte nas

Upoznajte nas

  • O tvrtki Conrad

  • Conrad - Your sourcing platform

  • Eprocurement

  • Naše vlastite marke 

  • Conrad partnerski program

  • Conrad Partneri


Naše usluge

Naše usluge

  • B2B prime - paket pogodnosti 

  • Usluga kalibriranja 

  • Kablovi na meter

  • PCB Servis 

  • Usluga nabave

  • Zahtjev za ponudu (RFQ)


Praktični linkovi

Praktični linkovi

  • Kategorije A - Ž

  • Brendovi A - Ž

  • Dokumentacijski centar

  • Povratak proizvoda

  • Informacije i pomoć


Newsletter

Molimo unesite važeću e-meil adresu!

☎ Kontakti

Ponedeljak - petak: 8:00 - 16:00

info@conrad.hr 

 

Načini plaćanja
  • Visa
  • Mastercard
Društveni mediji

Sve cijene proizvoda uključuju PDV i ne uključuju troškove dostave.

Sve cijene proizvoda uključuju PDV i ne uključuju troškove dostave.

  • Opći uvjeti

  • Zaštita podataka

  • Propisi in pravne informacije

  • Cookies conrad.hr

Usporedba proizvoda
Lista želja