Direktna poveznica
  • Conrad
  • Moj račun

    Prijava / Registracija

  • Košarica

  • Rasprodaja - provjerite najbolje cijene! Rasprodaja - provjerite najbolje cijene!
  • Brendovi

    Preporučeni brendovi

    Fluke
    Phoenix Contact
    Wiha
    TOOLCRAFT
    Weller
    Lapp
  • Usluge

    Usluge

    Zahtjev za ponudu
    Newsletter
    eProcurement
    eProcurement
    eProcurement
    eProcurement
  • Naši proizvodi
  • Moj račun
  • Lista želja
  • Odjava
Conrad
Početak
Alati i radionica Materijal za pričvršćivanje i montažu Tipla

Fischer 084341 KD 4 K NV preklopni tipl 105 mm 1 Set

EAN:
Šifra proizvođača:
Kataloški br.:
Metalni svornjak s krilcima i navojnom šipkom, koristi se za učvršćivanje predmeta na šupljim zidovima.
Metalni svornjak s krilcima i navojnom šipkom, koristi se za učvršćivanje predmeta na šupljim zidovima.
'Dva Fisher klapajuća tiplera M4 u jednom pakiranju. Pogodni za stropove do 15 kg i zidove do 58 kg.'
Pet modernih visilica s koničnim staklenim sjenilima, posloženih u redu i postavljenih uz bijelu stijenu.
Dva bijela umivaonika s modernim slavinama ispred velikog ogledala, postavljeni na bež pločicama u kupaonici.
Slika prikazuje svrdlo koje je crvenom strelicom označeno kako se povlači prema gore iz obratka.
Kuka je pričvršćena vijkom i polugom na perforiranoj gredi. Strelica prikazuje kretanje poluge.
Slika prikazuje vijčani spoj s metalnom šipkom i kukom. Jedan strelica pokazuje okretanje udesno, druga strelica pokazuje prema dolje.
'Nacrt napinjača s vijčanim mehanizmom koji se koristi za povezivanje dvije ploče. Crvena strelica pokazuje smjer okretanja.'
Dijagram prikazuje vijak s maticom koji povezuje dvije perforiane ploče.
Mehanizam kuke za dizanje: Kuka se diže pomoću vijčanog uređaja kako bi se učvrstio objekt. Crvene strelice pokazuju smjer okretanja.
Metalni stropni kuka, montirana na perforiranoj ploči, omogućava pričvršćivanje objekata na stropu.
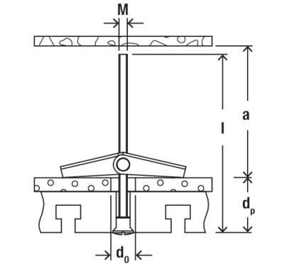
Tehnički nacrt mehanizma za dizanje s mjerama. Gore je platforma 'M', ispod nje mehanizam poluge. Označene su mjere 'a', 'dₚ' i 'd₀'.
1/12
Fischer
Tehnički list (PDF)
Deutsch (Deutschland)
 

16 Set(ovi) - zaliha Njemačka

Broj

Ukupno (8,99 € / komad)
€
Obrazac za prijavu nezakonitog sadržaja
  • 100% sigurnost kupnje

  • Dostava u 5 dana

  • Više od 800.000 proizvoda

  • Tehnička podrška

Informacije

Informacije

  • Opći uvjeti 

  • Naručivanje proizvoda

  • Načini plačanja

  • Dostava i PDV

  • Produženo jamstvo

  • Izvješće o održivosti

  • Informacije o pristupačnosti


Upoznajte nas

Upoznajte nas

  • O tvrtki Conrad

  • Conrad - Your sourcing platform

  • Eprocurement

  • Naše vlastite marke 

  • Conrad partnerski program

  • Conrad Partneri


Naše usluge

Naše usluge

  • B2B prime - paket pogodnosti 

  • Usluga kalibriranja 

  • Kablovi na meter

  • PCB Servis 

  • Usluga nabave

  • Zahtjev za ponudu (RFQ)


Praktični linkovi

Praktični linkovi

  • Kategorije A - Ž

  • Brendovi A - Ž

  • Dokumentacijski centar

  • Povratak proizvoda

  • Informacije i pomoć


Newsletter

Molimo unesite važeću e-meil adresu!

☎ Kontakti

Ponedeljak - petak: 8:00 - 16:00

info@conrad.hr 

 

Načini plaćanja
  • Visa
  • Mastercard
Društveni mediji

Sve cijene proizvoda uključuju PDV i ne uključuju troškove dostave.

Sve cijene proizvoda uključuju PDV i ne uključuju troškove dostave.

Popusti se primjenjuju samo na proizvode koji su odmah dostupni (status dostave je zelen): 15% popusta na odabrane Reolink proizvode, 15% popusta na odabrane Sygonix proizvode i 10% popusta na Abus proizvode. Ponuda vrijedi do 26. travnja 2026. na conrad.hr. Ponuda se ne može kombinirati s drugim kodovima za popust. 1x po poslovnom kupcu/pojedincu. U pojedinačnim slučajevima mogu se primjenjivati ​​količinska ograničenja.

  • Opći uvjeti

  • Zaštita podataka

  • Propisi in pravne informacije

  • Cookies conrad.hr

Usporedba proizvoda
Lista želja